5 Sep 2016

Go-To-Market strategies for large scale batteries.
In the final edition of a five part series on Residential, Commercial/Industrial and Utility batteries, Technology Analyst Dr Xiaoxi He looks at the go-to-market strategies prominent amongst players today.
2 Sep 2016

Animal wearable electronics: Why the spate of acquisitions?
On Thursday 1 September BBC World Television delved deeper into this topic by interviewing the expert, Dr Peter Harrop Chairman of analysts IDTechEx.
1 Sep 2016

Agricultural robotics and drones: a complex $10bn market by 2022
Robots and drones have already started to quietly transform many aspects of agriculture. Indeed, the IDTechEx Research report on Agricultural Robots and Drones 2016-2026: Technologies, Markets, and Players finds that this is already a $3bn market in 2016, growing to $10bn by as early as 2022.
31 Aug 2016

Changing dynamics of the electric car business
Barclays Equity Research in the UK surprised the car industry by forecasting a sharp drop in car sales when rental vehicles become more popular.
31 Aug 2016

Webinar Tues 13 September - Microcontrollers, Single-Board Computers
IDTechEx are hosting a free webinar on Tuesday 13 September 2016 titled Microcontrollers and Single-Board Computers
29 Aug 2016

Large-Scale Utility Batteries: Opportunities beyond Electric Vehicles?
Electric vehicles have been the centre of attention for the majority of manufacturers in this space, but here Technology Analyst Dr Xiaoxi He looks beyond this market to other Utility options. This is the penultimate article in a five part series covering some brand new IDTechEx research on this topic.
26 Aug 2016

Taming lightning to work your pacemaker
For a million years, mankind has known about static electricity but only recently have we known how to make it power things.
23 Aug 2016

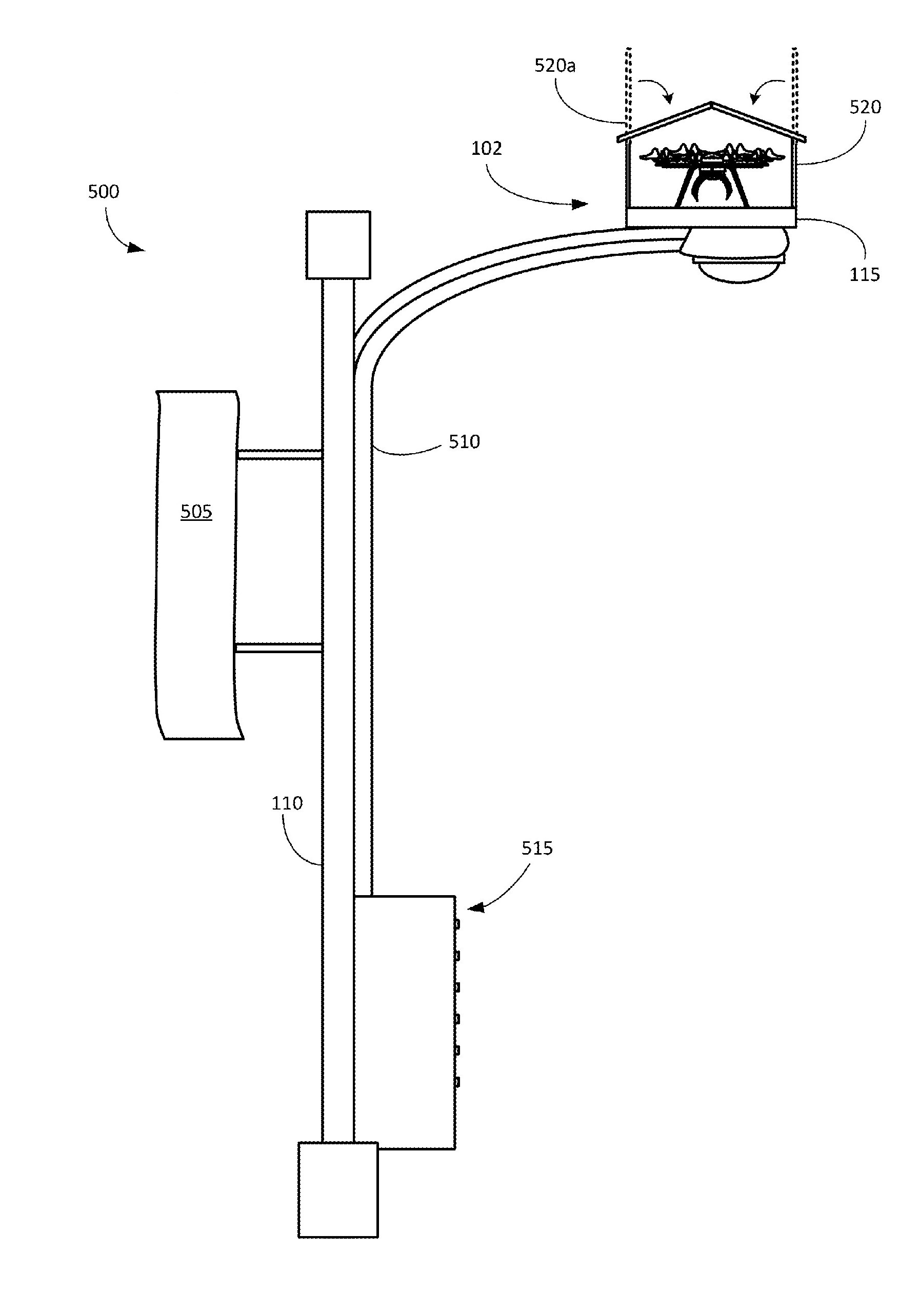
Lamp posts could be used as drone docking stations
Amazon proposes for their drones to dock and recharge on street lamps and other urban poles.
22 Aug 2016

Residential Batteries: Economic Analysis
Technology Analyst Xiaoxi He discusses the residential battery landscape today, looking at costing by component over time as well as other metrics to analyse this market. This is the thirdof a five part series covering some brand new IDTechEx research on this topic.
18 Aug 2016

Another EV maker goes full service green: IDTechEx analysis
Leo Motors Inc of Korea with the support of government officials of Henan, China, Leo Motors, Inc and Zhong Ji Well Parking System Co Ltd have signed a Memorandum of Understanding to set up a joint venture company focused on battery production, electric boat business, and Connected Vehicle business based on Internet of Things platforms.
18 Aug 2016

Webinar Tuesday 6 September - $6 Billion Opportunity for Batteries
IDTechEx are hosting a free webinar on Tuesday 6 September 2016 titled $6 Billion Opportunity for Batteries in Residential, Commercial, Industrial and Utility Applications
17 Aug 2016

IDTechEx to Give Keynote at Display Innovation Taiwan Conference 2016
IDTechEx Research, a leading provider of independent market research, business intelligence and events on emerging technology announces that Dr. Khasha Ghaffarzadeh will be a keynote speaker at the Display Innovation Taiwan Conference 2016.
17 Aug 2016

Guinness World Record for most efficient electric vehicle
After one year of preparation the TUfast Eco Team achieved their goal: "most efficient electric vehicle."
Full profile interview
17 Aug 2016

Flex - Fashion and Apparel division
IDTechEx interviewed the Director of Fashion and Apparel at Flex, who leads a team developing manufacturing capabilities to serve future wearable technology products.
16 Aug 2016

Mercedes 48V mild hybrids from 2017
As detailed in the IDTechEx report, Mild Hybrid 48V Vehicles 2016-2031, this option will become a huge business from 2017 as Ford, Hyundai, Bentley, Volkswagen, Audi, Geely and many others adopt them as the most cost-effective way of meeting 2025 and 2030 carbon dioxide emissions regulations while sharply improving economy - even improving performance in some respects.
15 Aug 2016

8Power Energy Harvesting: Electrodynamic, Electrostatic, Piezoelectric
Just two weeks since its creation, IDTechEx visited 8Power in the Cambridge University incubator Ideaspace West.
15 Aug 2016

Residential Batteries: Past-Present-Future
Technology Analyst Xiaoxi He walks through the timeline of residential batteries so far, before looking ahead to the future of this market. This is the second of a five part series covering some brand new IDTechEx research on this topic.
15 Aug 2016

Is vertical integration by car companies into batteries premature?
Management theory says that a manufacturing company should only vertically integrate - like Tesla with its Gigafactory - when the technology is mature so you can pare off the last pennies in cost without the technology being superceded.
Background
12 Aug 2016

San Diego Gas and Electric (SDGE), part of Sempra Energy
Sempra is a $7 Billion utility with most of its subsidiaries regulated (such as SDGE).
Full profile interview
12 Aug 2016

Murakami
Murakami provide mesh screens for screen printing for printed electronics. IDTechEx CEO Raghu Das interviewed Dale Kim at their site in California.